31 Jan Tech Tip Tuesday: How load-holding valves keep your equipment safe
What keeps your equipment safe in the event of hose or fitting damage or failure? If you’re considering Power-Packer stabilization legs, it’s important to understand that our products come with integrated, hydraulic, load-holding valves to protect your equipment.
In the manifold of each of our stabilization legs, we can install pilot-operated check valves or dual counterbalance valves. If a failure occurs on the supply side, the load holding valves close to prevent any oil from escaping the pressure chamber and protect against movement. The valves are built into the manifold with internal oil passages, so no external lines are exposed or susceptible to damage.
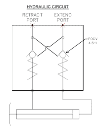
Pilot-operated check valves
Designed for use in applications that require an actuator to be locked in position, pilot operated check valves allow free flow in one direction, from the input through the output port. Supplying pilot pressure to the valve allows flow in the opposite direction. All of our pilot-operated check valves have a pilot ratio of 4.5:1.
When Power-Packer stabilization legs are extended, pressure opens the retract side pilot line, allowing oil from the retract side to flow back to the tank. The reverse happens when the leg is retracted, with the pressure from the retract input opening the check valve on the extended side. Pressure is held inside the cylinder and the hoses drain into the tank via the directional control valve until positive hydraulic pressure is again supplied by the directional valve to operate the cylinders. This keeps the cylinder in position when there is no supply from the directional valve.
|
|
|
Dual counterbalance valves
The purpose of a counterbalance valve is similar to the pilot-operated check valves. However, dual counterbalance valves also have an overload valve that protects the cylinder when excessive load is present. Counterbalance valves may be internally or externally piloted or piloted internally and externally. They may also be internally or externally drained.
These valves function as the pilot-operated check valves with respect to load holding, but they also protect against any overload conditions that may affect the circuit. Typically, dual counterbalance valves are used in dynamic loading conditions like “run-on” equipment such as rock crushers, mobile fracking units and screen plants.
These valves must be used with a float center valve bank, which has a connection to the low-pressure lines or main oil reservoir. This allows oil to flow back to the tank if over-pressurized conditions arise. Our counterbalance valves have a pilot ratio of 4.5:1.
![]() |
![]() |
Questions about our stabilization legs and the integrated load holding feature? Contact our Customer Service team at info@powerpackerus.com for more information.



